https://doi.org/10.1016/j.ese.2025.100560
https://doi.org/10.1021/acs.est.4c14471
https://doi.org/10.2166/wst.2025.050
https://doi.org/10.1016/j.biteb.2025.102272
https://doi.org/10.1016/j.ese.2024.100387
https://doi.org/10.1002/aesr.202400097
https://doi.org/10.1002/aesr.202400097
https://doi.org/10.3389/fmicb.2024.1493782
https://doi.org/10.3389/fmicb.2024.1493782
https://doi.org/10.2166/9781789062977_0315
https://doi.org/10.1021/acsestwater.3c00178
https://doi.org/10.1016/j.desal.2023.116882
https://doi.org/10.5194/egusphere-egu23-16018
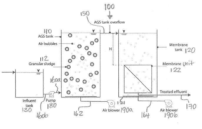
https://patentimages.storage.googleapis.com/f9/20/a2/09ce3002aab67a/US20230332083A1.pdf
https://doi.org/10.3389/fmicb.2022.915856
https://doi.org/10.2166/wrd.2022.038
https://patents.google.com/patent/US12378142B2/en
https://doi.org/10.1016/j.scitotenv.2020.142668
https://doi.org/10.1038/s41522-021-00218-3
https://doi.org/10.3389/fmicb.2021.708531
https://doi.org/10.1016/j.watres.2019.115345
https://doi.org/10.1038/s41467-020-16016-y
https://doi.org/10.1016/j.biortech.2020.123642
https://doi.org/10.3389/fmicb.2020.01637
https://doi.org/10.1016/j.watres.2020.116284
https://doi.org/10.1016/j.copbio.2019.03.007
https://doi.org/10.1128/mra.00297-19
https://doi.org/10.3389/fmicb.2019.01747
https://doi.org/10.3389/fmicb.2019.02563
https://doi.org/10.1021/acs.est.8b07303
https://doi.org/10.1016/j.watres.2018.06.007
https://doi.org/10.1080/10643389.2018.1474679
https://doi.org/10.1016/j.watres.2018.11.012
https://doi.org/10.5194/bg-15-7333-2018
https://doi.org/10.1016/j.watres.2017.03.027
https://doi.org/10.1016/j.biortech.2017.03.076
https://doi.org/10.1021/acsami.7b01251
https://doi.org/10.1016/j.syapm.2017.07.004
https://doi.org/10.1016/j.watres.2017.08.052
https://doi.org/10.1111/1462-2920.13355
https://doi.org/10.1016/j.watres.2016.06.034
https://doi.org/10.1128/genomea.01377-16
https://doi.org/10.1111/1462-2920.12674
https://doi.org/10.1016/j.watres.2015.04.024
https://doi.org/10.1016/j.chemosphere.2015.06.094
https://doi.org/10.1016/j.watres.2014.03.036
https://doi.org/10.1016/j.landurbplan.2011.05.006